Немецкий автопроизводитель BMW вновь оказался в центре дискуссий, связанных с обслуживанием автомобилей. Согласно опубликованным патентным материалам, компания разработала специальный крепёжный винт, который потенциально может ограничить возможность самостоятельного ремонта и обслуживания автомобилей вне официальной дилерской сети.
Необычная конструкция крепежа
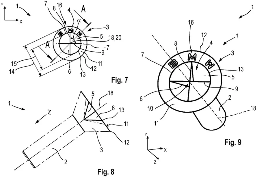
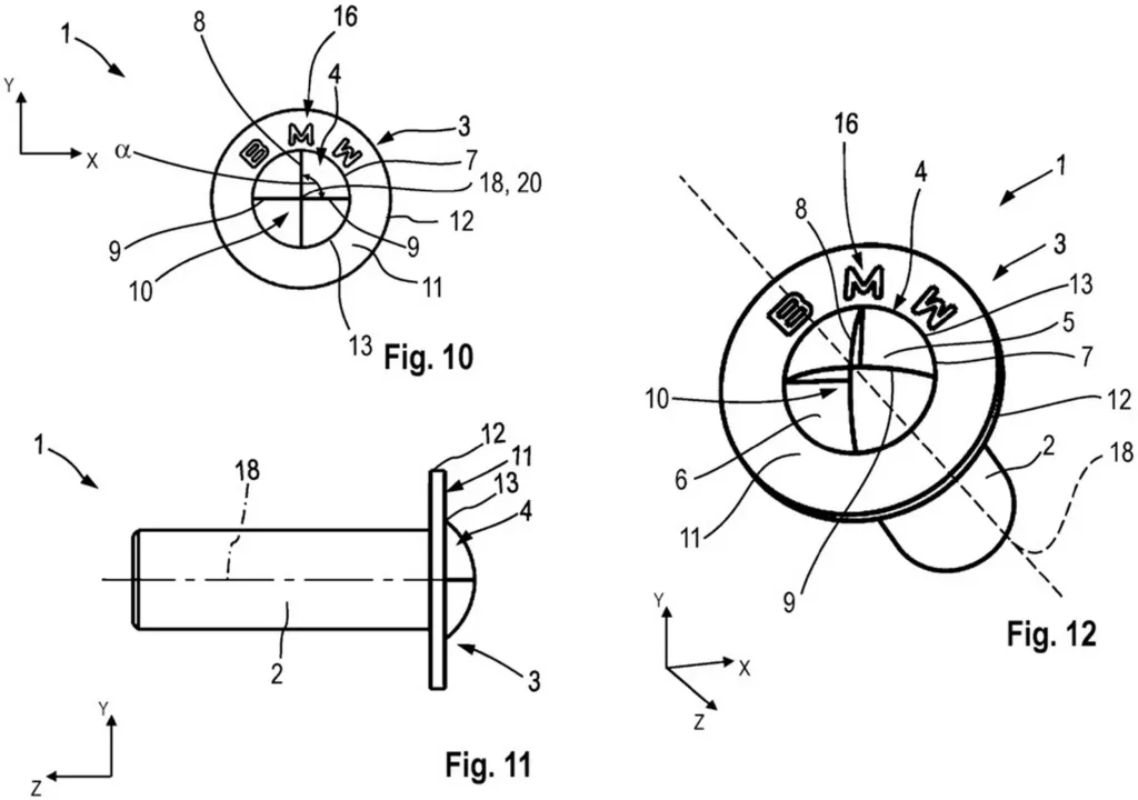
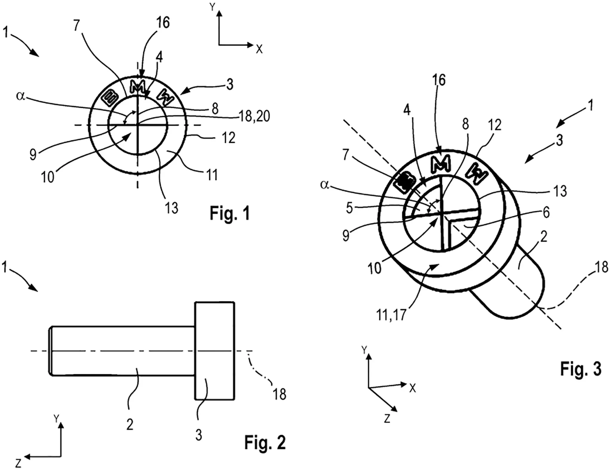
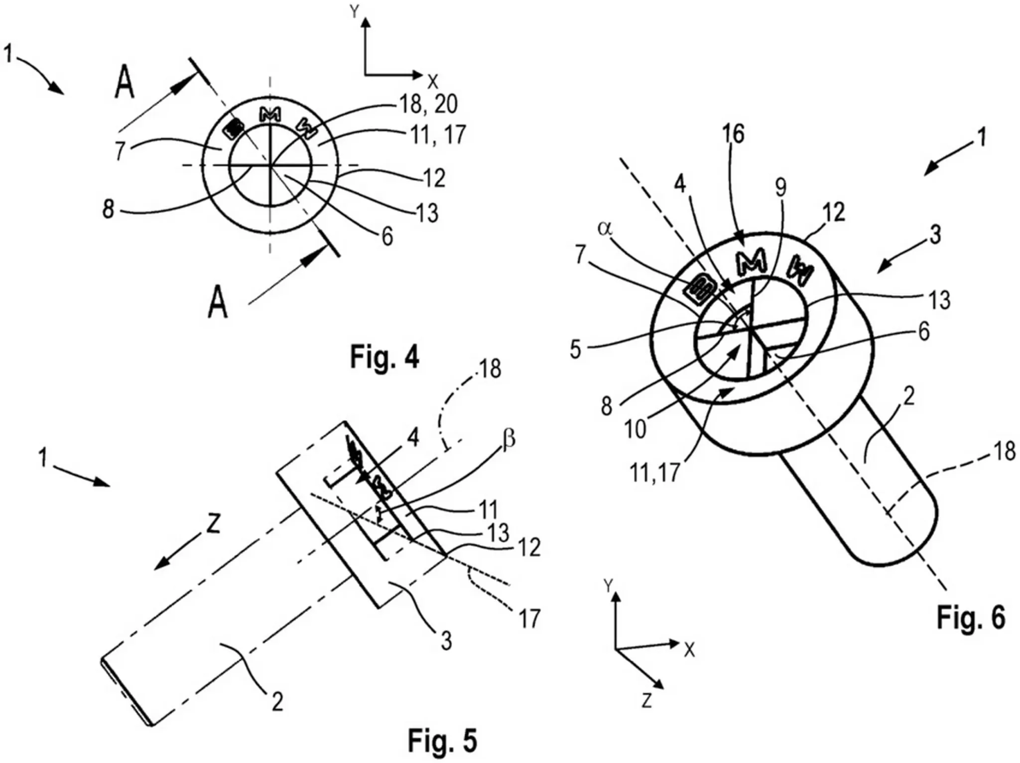
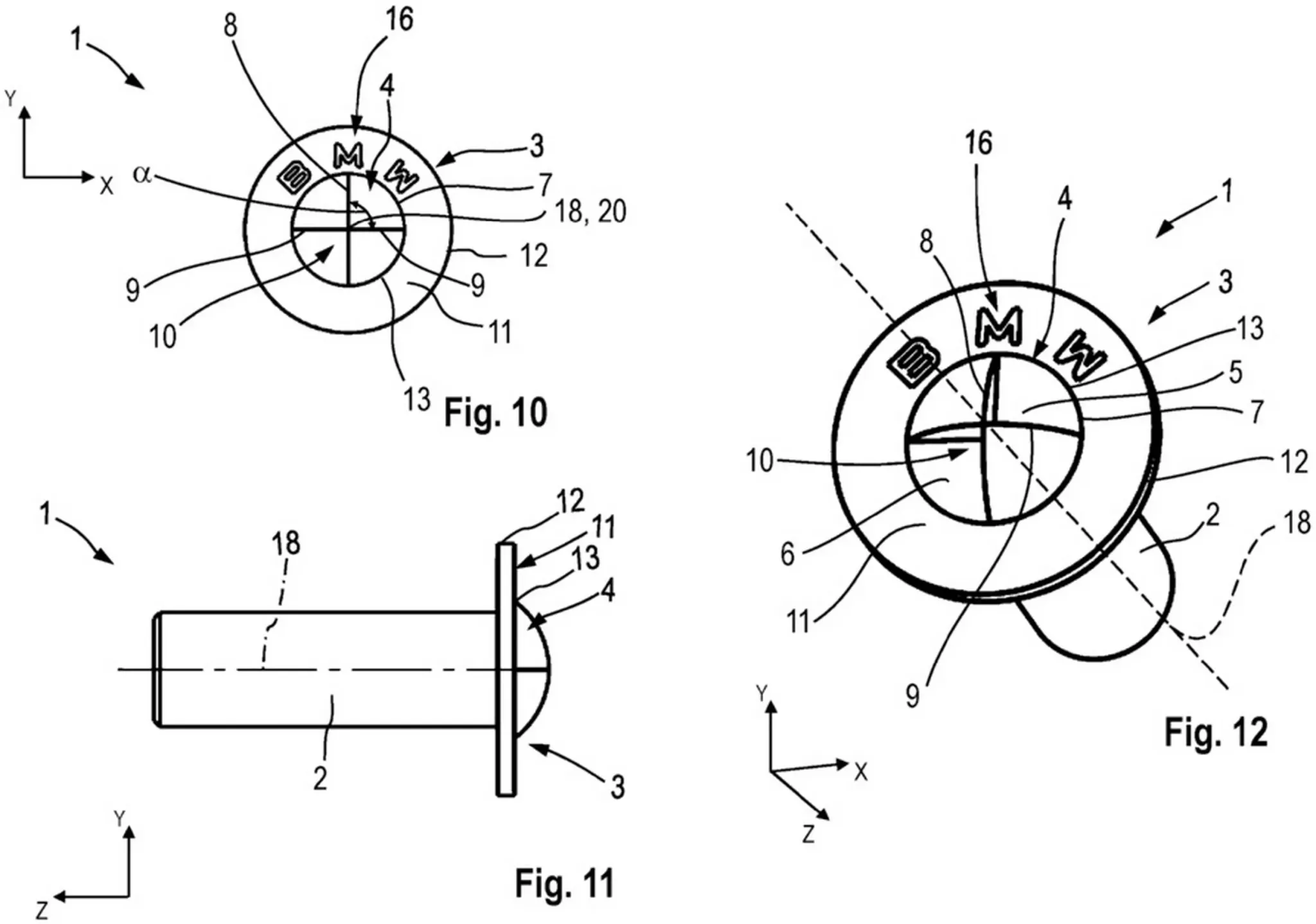
Главная особенность нового винта заключается в форме его головки. Она выполнена в виде стилизованного круга, разделённого на четыре сектора, визуально отсылающих к эмблеме BMW. При этом два сегмента сделаны утопленными, а два — выступающими. Такая геометрия исключает использование стандартных отвёрток и бит, применяемых в большинстве автомастерских и гаражей.
В патентной документации описывается сразу несколько вариантов исполнения: от классических винтов до глухих креплений, используемых для фиксации элементов интерьера, электронных блоков и защитных панелей. Во всех случаях принцип остаётся одинаковым — для демонтажа требуется специальный инструмент с точным профилем.
Возможные последствия для владельцев
Если подобные винты будут применяться в серийных автомобилях, это может привести к ряду последствий. В первую очередь, владельцы потеряют возможность выполнять даже простые работы по обслуживанию без доступа к фирменному инструменту. Независимые сервисы также окажутся в сложной ситуации, так как им придётся либо закупать специализированное оборудование, либо отказываться от части работ.
Фактически речь идёт о повышении зависимости клиентов от официальных дилерских центров. Это может увеличить стоимость обслуживания, особенно после окончания гарантийного срока, когда многие автомобилисты предпочитают альтернативные сервисы или самостоятельный ремонт.
Реакция сообщества и экспертов
Появление патента вызвало бурную реакцию в автомобильном сообществе. Критики считают, что подобные решения противоречат идее свободного доступа к ремонту и обслуживанию техники, особенно на фоне глобального движения за право владельцев самостоятельно обслуживать свою собственность.
В то же время некоторые эксперты отмечают, что патент ещё не означает немедленного внедрения технологии в производство. Кроме того, рынок инструментов традиционно быстро адаптируется к новым типам крепежа, и со временем могут появиться совместимые решения от сторонних производителей.

Безопасность или контроль?
Официальных комментариев от BMW по поводу целей разработки пока не поступало. Теоретически компания может аргументировать использование нестандартных винтов вопросами безопасности, защиты электронных систем или предотвращения неквалифицированного вмешательства. Однако на практике подобные решения часто воспринимаются как инструмент контроля над послепродажным обслуживанием.
Пока только патент
Важно подчеркнуть, что на данный момент речь идёт исключительно о патентной заявке. Нет подтверждённой информации о том, что такие винты уже используются или будут применяться в ближайших серийных моделях BMW. Тем не менее сам факт разработки подобного крепежа ясно показывает направление, в котором движется современный автопром: всё больше технологий становятся закрытыми для конечного пользователя.
В ближайшие годы станет понятно, останется ли этот винт лишь любопытной инженерной разработкой или станет ещё одним символом ограничения доступа к ремонту современных автомобилей.
