
Автобус ЛиАЗ-529222 относится к числу наиболее распространённых низкопольных городских автобусов, широко используемых на муниципальных и коммерческих маршрутах. Его конструкция ориентирована на интенсивную ежедневную эксплуатацию, однако даже надёжная техника требует регулярного и квалифицированного технического обслуживания. Представленное руководство по ремонту и обслуживанию ЛиАЗ-529222 предназначено для специалистов автотранспортных предприятий, сервисных центров, механиков, а также владельцев, занимающихся обслуживанием автобусов самостоятельно.

Данный мануал охватывает полный комплекс работ по диагностике, техническому обслуживанию и ремонту автобуса ЛиАЗ-529222. В руководстве подробно рассмотрено устройство автобуса, приведены технические характеристики, описаны регламентные работы и интервалы сервисного обслуживания. Особое внимание уделено системам, от которых напрямую зависят безопасность движения и надёжность эксплуатации.
В разделе, посвящённом силовой установке, рассматриваются дизельные двигатели, устанавливаемые на ЛиАЗ-529222, включая особенности их конструкции, системы питания, охлаждения и смазки. Подробно описаны процедуры проверки, регулировки и ремонта двигателя, а также методы поиска и устранения типовых неисправностей.
Трансмиссия автобуса представлена как механическими, так и автоматическими коробками передач в зависимости от комплектации. В руководстве приведены схемы работы коробок передач, описание сцепления, карданных передач и ведущего моста. Даны рекомендации по обслуживанию, диагностике и ремонту трансмиссионных узлов.
Отдельный раздел посвящён тормозной системе, включая пневматическую систему, рабочие и стояночные тормоза, а также элементы системы безопасности. Подробно описаны контуры тормозов, клапаны, компрессор и методы проверки герметичности. Это делает мануал особенно ценным для эксплуатации автобуса в городских условиях.
Подвеска и рулевое управление ЛиАЗ-529222 рассмотрены с учётом конструктивных особенностей низкопольного кузова. В руководстве содержатся данные по передней и задней подвеске, амортизаторам, стабилизаторам и рулевым механизмам, а также рекомендации по их обслуживанию и ремонту.

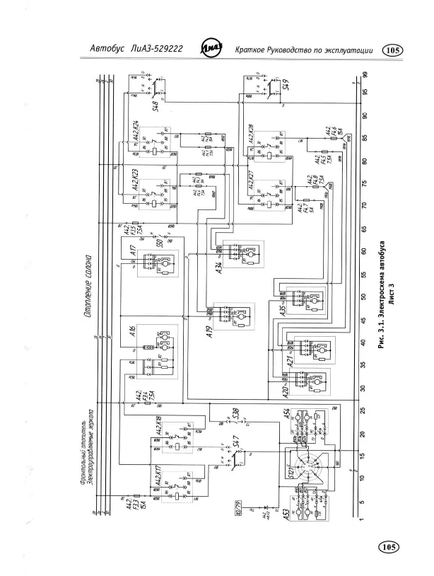
Большой практической ценностью обладают электрические схемы ЛиАЗ-529222. В мануале представлены схемы электрооборудования, освещения, приборов управления, системы запуска двигателя и вспомогательных электронных систем. Электрические схемы позволяют быстро находить неисправности и выполнять качественный ремонт электрооборудования.
Кузовной раздел включает описание конструкции кузова, элементов салона, дверных механизмов и систем отопления и вентиляции. Приведены данные по техническому обслуживанию кузовных элементов и ремонту отдельных узлов.

Руководство по ремонту и обслуживанию ЛиАЗ-529222 является полноценным техническим пособием, которое сочетает в себе теоретическое описание и практические инструкции. Мануал, электрические схемы и справочные данные делают его незаменимым источником информации при эксплуатации и ремонте автобуса.
Год выпуска: 2012 г.
Формат: PDF
Количество страниц: 130
Качество: Отсканированные страницы
Язык авто-книги : Русский
